用户管理¶
创建用户¶
“添加用户”是用户管理模块中的核心功能,授权管理员在系统中创建新的用户账户。 通过此功能,可以为新员工、新系统使用者或需要特定访问权限的人员分配唯一的系统身份标识(登录账号)和初始安全凭证, 并赋予其相应的角色与数据权限,确保其能够安全、合规地访问其职责范围内的系统资源。

以下是对“创建用户”表单的填写指导,帮助你正确、完整地填写各项内容:

确定:填写完成后点击,提交表单并创建用户。
取消:放弃填写并关闭表单。
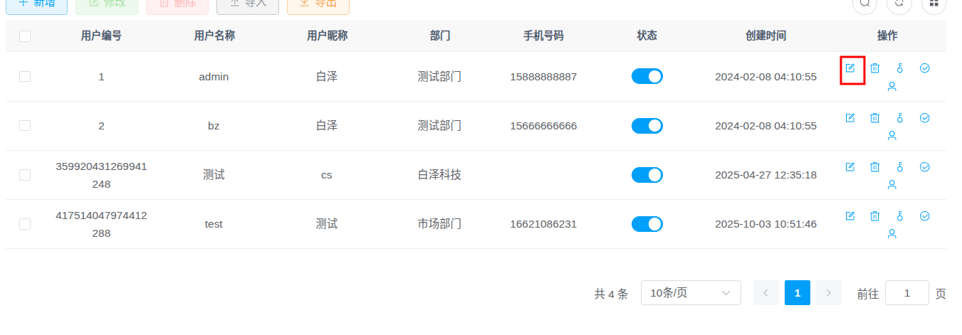
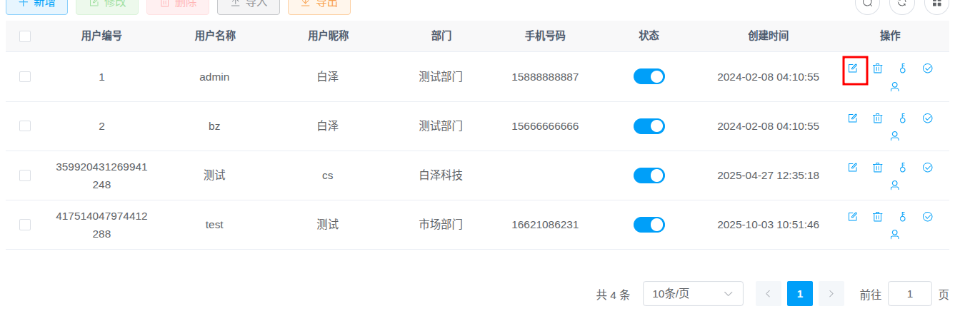
修改用户¶
填写员工信息,并为员工账号选择对应的角色>也可单独针对该员工的权限进行调整


删除用户¶

重置密码¶

分配角色¶

数据权限¶

从下拉列表中选取相关功能 ,选取表示可以有权限
